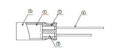
当达到击穿电压时电容器击穿
击穿电压是电容器的极限电压。如果超过这个电压,电容器中的介质将被击穿。额定电压是电容器在长期运行期间能够承受的电压,低于击穿电压。当电容器在击穿电压或低于击穿电压时,它是安全可靠的。无需将电容器误认为仅在额定电压下正常工作。

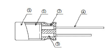
当达到击穿电压时电容器击穿
击穿电压是电容器的极限电压。如果超过这个电压,电容器中的介质将被击穿。额定电压是电容器在长期运行期间能够承受的电压,低于击穿电压。当电容器在击穿电压或低于击穿电压时,它是安全可靠的。无需将电容器误认为仅在额定电压下正常工作。

公司: 深圳市捷比信实业有限公司
电话: 0755-29796190
邮箱: momo@jepsun.com
产品经理: 聂经理
QQ: 2215069954
地址: 深圳市宝安区翻身路富源大厦1栋7楼

获取最新公司新闻和行业资料。